Honeywell HC60W45R4 Network TDN WDR IR Outdoor Dome Camera Installation Guide
Package Contents

Tools Needed

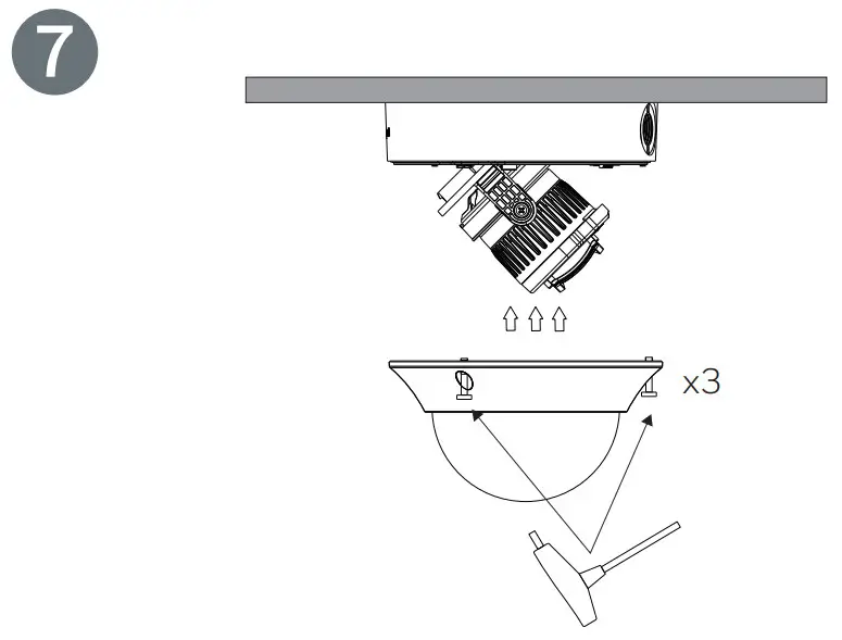
Installation Instructions






Software Instructions




Note
- Internet Explorer 11 (or later) with ActiveX plug-in is supported.
- Chrome 71 (or later) is supported for H.264 video. Chrome is not supported for H.265 video.
- The camera comes with the IP address set as DHCP/APIPA by default. It is not required to switch to a static IP address. Users may choose to keep the default DHCP/APIPA assigned IP address.
Cautions and Warnings
| |
| CAUTION: TO REDUCE THE RISK OF ELECTRIC SHOCK, DO NOT REMOVE COVER (OR BACK). NO USER SERVICEABLE PARTS INSIDE. REFER SERVICING TO QUALIFIED SERVICE PERSONNEL. |
WARNING To ensure compliance with electrical safety standards, CSA Certified/UL Listed LPS or Class 2 power adapters are required. Power over Ethernet (PoE) shall be provided by listed Information Technology Equipment meeting the IEEE 802.3af PoE standard. The PoE is not intended to be connected to exposed (outside plant) networks. Consult Honeywell for the recommended adapter
WARNING To comply with EN50130-4 requirements, a UPS should be employed when powering the camera from 24 V AC.
Caution Invisible LED radiation (850 nm). Avoid exposure to beam.
Important Safeguards
- Read and keep these instructions.
- Please ensure that your installation area can safely support the weight of the camera.
- Do not aim the camera toward a bright light source for extended periods to prevent damage to the imager. Avoid operating the unit under or close to unstable light sources (may cause flickering), or close to fluorescent lamps or objects reflecting light.
- Do not touch the camera lens.
- Do not drop the camera or subject it to physical shock.
- Do not use a strong or abrasive detergent when cleaning the camera.
- Avoid operating or storing the unit in extremely humid, dusty, hot/cold environments, where the operating temperature is outside the recommended range of -40°F to 140°F (-40°C to 60°C).
- Avoid operating the unit close to sources of powerful electromagnetic radiation, such as radio or TV transmitters.
- The product is only to be connected to PoE network without routing to outside plant.
- If powered by a power adapter, the adapter should be properly grounded. (Consult Honeywell for the recommended adapter).
- Installation and dismantling should be performed only by qualified and experienced technicians.
- Make sure the power is cut off before the product is being repaired or installed.
- The product can be ceiling or wall mounted. When wall mounted, the Cable Gland will face down and make sure the height of the product is above 3 meters.
- Please contact the authorized distributor of Honeywell for related accessories (Cable
- Gland, Cable, etc.) for purchase and installation.
- The camera should be installed at least 10 centimeters away from the eave of a building.
Regulatory Statements
FCC Statement of Compliance
This equipment has been tested and found to comply with the limits for a Class B digital device, pursuant to part 15 of the FCC Rules. These limits are designed to provide reasonable protection against harmful interference in a residential installation. This equipment generates, uses, and can radiate radio frequency energy and, if not installed and used in accordance with the instructions, may cause harmful interference to radio communications. However, there is no guarantee that interference will not occur in a particular installation. If this equipment does cause harmful interference to radio or television reception, which can be determined by turning the equipment off and on, the user is encouraged to try to correct the interference by one or more of the following measures:
- Reorient or relocate the receiving antenna.
- Increase the separation between the equipment and receiver.
- Connect the equipment into an outlet on a circuit different from that to which the receiver is connected.
- Consult the dealer or an experienced radio/TV technician for help.
Changes or modifications not expressly approved by the party responsible for compliance could void the user’s authority to operate the equipment.
This Class B digital apparatus complies with Canadian ICES-003.
Manufacturer’s Declaration of Conformance
North America
The equipment supplied with this guide conforms to UL 62368-1 and CSA C22.2 No. 62368-1
Europe
The manufacturer declares that the equipment supplied with this guide is compliant with the European Parliament and Council Directive on the Restrictions of the use of certain hazardous substances in electrical and electronic equipment (2015/863/EU), General Product Safety Directive (2001/95/EC), and the essential requirements of the EMC Directive (2014/30/EU), conforming to the requirements of standards EN 55032 for emissions, EN 50130-4 for immunity, and EN 62368-1 for electrical equipment safety.
Waste Electrical and Electronic Equipment (WEEE)

Correct Disposal of this Product (applicable in the European Union and other European countries with separate collection systems).
This product should be disposed of, at the end of its useful life, as per applicable local laws, regulations, and procedures.
![]()
Covered by one or more claims of the patents listed at patentlist.hevcadvance.com
Please be aware that this product can store personal data.
Personal data is protected by the General Data Protection Regulation (2016/679) in Europe and therefore the owners of personal data have obtained certain rights thanks to this regulation.
We strongly advise you to be fully aware of these owner (“data subjects”) rights as well as which limitations you have to obey regarding the use and distribution of this data. Further details can be found on the GDPR website of the EU.
Support
http://www.honeywell.com/security
+1 800 323 4576 (North America only)
https://www.honeywellsystems.com/ss/techsupp/index.html
Document 800-26114 – Rev A – 02/2020
© 2020 Honeywell International Inc. All rights reserved. No part of this publication may be reproduced by any means without written permission from Honeywell. The information in this publication is believed to be accurate in all respects. However, Honeywell cannot assume responsibility for any consequences resulting from the use thereof. The information contained herein is subject to change without notice. Revisions or new editions to this publication may be issued to incorporate such changes. For patent information, see www.honeywell.com/patents.




















