
Digital Refractometer
300033, 300034, 300035, 300036
Instruction Manual
INTRODUCTION
This high-precision instrument line is designed especially for laboratory accuracy. The digital readout eliminates uncertainties, while the water-resistant design facilitates clean-ups and protects the electronics from moist environments. All models display sample temperature in addition to their other parameters. Refractometers operate on the principle that, as the concentration or density of a solution increases, its refractive index changes proportionately. The larger the concentration of dissolved substances in the solution, the higher the reading. Features include a wide measurement range, automatic temperature control (ATC), °C/°F selectable scales, high/low range limit alerts, auto shut-off, and a low battery indicator.
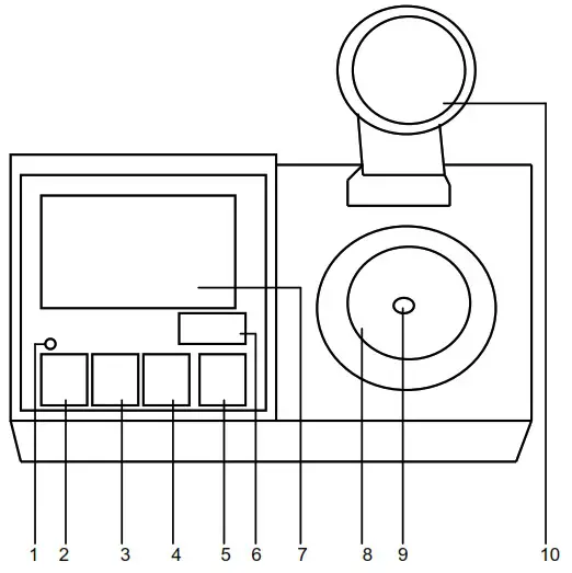
PANEL DESCRIPTION

| 1. High/Low Range Limit Alert 2. READ and Enter 3. ZERO and ► 4. SCALE and ▼ 5. FUNC and Y/N | 6. ON and OFF 7. LCD 8. Prism plate 9. Prism 10. Cover |
FACEPLATE & LCD DISPLAY

| 1. Prism Temperature 2. ATC (activated when displayed) 3. High Limit Alert 4. Low Limit Alert | 5. Low Battery 6. Measurement Value 7. Calibration Error 8. Scale Indicator |
OPERATING INSTRUCTIONS
General Measurement
- To avoid damage, it is important to clean the PRISM WINDOW before and after use.
- Press the ON/OFF button to turn the Digital Refractometer on. The unit will automatically shut off after about 3 minutes of inactivity.
- Perform the Calibration Procedures (below).
- With the unit on, fill the PRISM WINDOW with the sample to be measured, then close the COVER.
- Press the READ button immediately to ensure accurate readings. Delays may cause the sample to evaporate.
Changing the Temperature Scale: With the unit on, press the FUNC button as needed until l.P C (or F ) is displayed. Press the SCALE button to view the temperature in Fahrenheit (or Celsius). Press the READ button to exit.
Automatic Temperature Compensation (ATC): This feature makes manual temperature correction unnecessary. However, to obtain precise readings the sample and the unit should be at similar ambient temperatures. ATC appears on the LCD when this function is activated. To set the ATC function, press the FUNC button as needed until ALC.Y (or n) appears. Press the SCALE button to toggle between on or off. Press the READ button twice to exit.
Calibration Procedures
- Clean the PRISM WINDOW before and after every use.
- Fill the PRISM WINDOW with a standard solution such as distilled or deionized water. The ideal temperature of the solution and the unit should be 65° to 72°F (18° to 22°C).
- Close the COVER.
- Press the ON/OFF button to turn the unit on.
- Press the ZERO button for 3 seconds.
- When the procedure is complete, CAL will be displayed.
- To check the nD value, press the ZERO button once.
- This data can be viewed at any time to show the last calibration value.
- A flashing crosshair symbol is displayed when the calibration solution falls outside the accepted range.
Scale Selection: Press the SCALE button to toggle through the scales. The ▼ symbol indicates the active scale.
High/Low Range Limit Alert: A red light will flash when the measurement is outside of the range limit.
- Setting the High Range Limit Alert
- With the unit on, press the FUNC button as needed until H.L Y and the flashing H-Limit icon is displayed.
- Press the READ button and the last digit flashes.
- Use the ▼ and the ◄ buttons to set the high range limit.
- Press the READ button activate the function.
- Press the FUNC button as needed to return to the measurement screen.
- Deactivating the High Range Limit Alert
- Press the FUNC button as needed until H.L n appears.
- Press the READ button to deactivate the function.
- Press the FUNC button as needed to return to the measurement screen.
- Setting the Low Range Limit Alert
- With the unit on, press the FUNC button as needed until L.L Y and the flashing L-Limit icon is displayed.
- Press the READ button and the last digit flashes.
- Use the ▼ and the ◄ buttons to set the low range limit.
- Press the READ button activate the function.
- Press the FUNC button as needed to return to the measurement screen.
- Deactivating the Low Range Limit Alert
- Press the FUNC button as needed until L.L n appears.
- Press the READ button to deactivate the function.
- Press the FUNC button as needed to return to the measurement screen.
Zero Checking: Perform Zero Checking if the unit has sustained a shock, is subjected to temperature changes, or seems inaccurate.
- Fill the prism window with a standard solution. This should be the same temperature as the solution to be tested.
- With the unit on, press the ZERO button. A refractive index between 1.3329 to 1.3331 indicates that the unit is accurate.
- If the unit is out of range, a flashing crosshair symbol will be displayed, indicating that recalibration is required.
- Press any button to exit this function.
Battery Replacement
- When the battery is low, this symbol will be displayed:

- Open the back cover to replace the 9V battery.
- Reinsert the back cover, making sure it is properly seated.
A built-in gasket protects the circuitry from spills.
Note…
The battery provided with your instrument is primarily intended to check that the unit operates properly. The battery itself is not guaranteed and should be replaced when the low battery symbol is displayed.
Precautions
- Protect the LCD from exposure to strong light sources.
- Avoid prolonged use or storage in extreme temperatures.
- Clean the prism and window surface before and after use with a soft wet clean cloth or paper towel. Other surfaces may be cleaned with a mild liquid dish detergent and water.
- Do not use in corrosive environments.
- Do not submerge the unit.
- This precision measuring instrument contains delicate optics and electronics. Handle with care and do not drop.
- To avoid electric shock, make sure the battery compartment is covered and do not disassemble the unit.
Erratic Readings
If the readings are significantly above or below the expected results, consider the following:
- The sample contains more than one dissolved solid. For example, if the sample contains both salt and sugar, a Brix refractometer will not display the true sugar content because the salt content will skew the Brix measurement.
- When diluting samples, be sure to use a pure solution such as distilled water.
- The sample contains suspended solids. Filter and thoroughly mix the sample before testing.
- Perform a calibration.
- Replace the battery.
- Outside light can cause erratic readings, make sure to close the COVER on the PRISM during measurement.
SPECIFICATIONS
| Models | Type | Range | Res. | Accuracy |
| 300033 | Brix | 45.0 to 88.0% | 0.1% | ±0.2% |
| nD | 1.4098 to 1.5122 | 0.0001 | ±0.001 | |
| 300034 | Brix | 0.0 to 88.0% | 0.1% | ±0.2% |
| nD | 1.330 to 1.5122 | 0.0001 | ±0.001 | |
| 300035 | Brix | 0.0 to 60.0% | 0.1% | ±0.2% |
| Salinity | 0.0 to 28.0% | 0.1% | ±0.1% | |
| Salinity PPT | 0 to 280 | 1 | ±1 | |
| nD | 1.3330 to 1.4419 | 0.0001 | ±0.001 | |
| 300036 | USG | 1.000 to 1.090 | 0.001 | ±0.002 |
| Serum Protein | 0.0 to 12.0 | 0.1 | ±0.1 | |
| nD | 1.330 to 1.4098 | 0.0001 | ±0.001 | |
| Temperature (All Models) | 0 to 40°C | 0.1°C | ±1°C | |
| -32 to 104°F | 0.1°F | ±2°F | ||
| Power Supply: | 9V Battery (apx. 5000 tests/battery) |
| Weight: | 18 oz (500 g) |
| Dimensions: | 7″ x 4″ x 21/2″ (180 x 100 x 65 mm) |
| Operating Temp: | 41 to 95°F (5 to 35°C) |
| Storage Temp: | 14 to 122°F (-10 to 50°C) |
| Included: | Protective Case, 9V Battery, Distilled Water, and a Transfer-Pipette |
WARRANTY
Sper Scientific warrants this product against defects in materials and workmanship for a period of one (1) year from the date of purchase and agrees to repair or replace any defective unit without charge. If your model has since been discontinued, an equivalent Sper Scientific product will be substituted if available. This warranty does not cover probes, batteries, battery leakage, or damage resulting from accident, tampering, misuse, or abuse of the product. Opening the meter to expose its electronics will void the warranty. To obtain warranty service, ship the unit postage prepaid to:
SPER SCIENTIFIC LTD.
8281 E. Evans Rd., Suite #103
Scottsdale, AZ 85260
(480) 948-4448
The defective unit must be accompanied by a description of the problem and your return address. Register your product online at www.sperwarranty.com within 10 days of purchase.
rev. 7/11/2019


















