92-2595-01 Rev.A
M-Class™ Mark II
DMXrfNet III and DMXNet III Card Option 


right by our customers. ![]()
This document describes the installation and use of the DMXrfNetIII and DMXNetIII Card options for the M-Class Mark II printers. After verifying the contents of the kit and the tools needed, follow the steps below to install and begin using the option. Keep this documentation for future reference.
For your safety and to avoid equipment damage, always turn ‘Off’ power and unplug the printer’s power cord before beginning this installation. |
Contents of the Communication Card Kit

This kit contains the following items:
Communication Card
Antenna (wireless models)
Ribbon Cable
Standoffs
Follow the steps below to install these items into the printer If your card is already installed proceed to the Overview section on page 4.
Tools Required
To install this option you will need a #2 Phillips head screwdriver.
Only qualified service personnel should install this Option.
Firmware Update Required
If you are installing this card into an existing printer, you must upgrade the printers firmware to support this network card. Updated firmware can be downloaded from the Datamax-O’Neil FTP site at ftp.datamax-oneil.com. Refer to the printers operator’s manual for more information on updating the printers firmware. Be sure the firmware file that you download is:
All Models: Version 14.X or greater.
Step 1: Preparing the Printer
1. Turn ‘Off’ the power switch and unplug the printer.
2. Open the cover. Remove any installed media/ribbon from the printer.
3. Remove the single Screw on the rear of the printer and remove the two Screws securing the side cover.

- Screws
4. Open the cover, loosen or remove the two Screws from the inside of the printer as shown.

- Screws
5. Lift the cover up and off the printer.

- Cover Assembly
6. Remove the two Screws and the Cover Plate from the rear of the printer.

- Screws
- Cover Plate
Installing the Communication Card
1. Insert the two supplied Standoffs into the printer’s Main Board as shown.

- Standoffs
- Main Board
2. Slide the Communication Card into the rear of the printer. Align the two holes in the Communication Card with the two previously installed Standoffs.
3. Press the Communication Card onto each of the Standoffs.
4. Install the two previously removed cover plate Screws.

- Standoffs
- Communications Board
- Screws
5. Install each end of the supplied Ribbon Cable into its corresponding connectors on the printer’s Main Board and Communication Card.
6. Re-install the printer’s covers and associated screws.

- Main Board
- Ribbon Cable
- Communication Card
Introduction
The M-Class MarkII series of printers are available with two Communication Card options. These cards can be equipped in the following configurations:
• Wired Ethernet • Wired and Wireless Ethernet
External Hardware Descriptions
The functions of the Interface Card’s external hardware are defined below. Depending on the configuration of your card some items may not be present.
Connectors
- ANTENNA is used to connect an antenna or coaxial cable for RF reception and transmission via this Multimedia Communication Exchange (MMCX) Reverse Pin type connector.
- 10/100 BaseT is used to connect a 10/100 BaseT Ethernet cable via this RJ45 network connector. This port can not be used for the setup of the wireless portion of the card.
Indicator Lights
- ACTIVITY is a green indicator that flashes when the Card is not connected and scanning. The indicator will turn on when a connection is made.
- LINK is a yellow indicator that comes on when the Card is associated with an Access Point or Ad-hoc peer.
- DATA is a green indicator that flashes when there is data transmitted between the printer and Host access point.
Label
This Label contains the MAC address of the Wireless Card. The MAC address of the printer’s wired port is listed on the printer’s configuration test label.
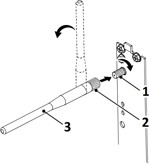
Installing the Antenna (wireless cards only)
1. Extend the Antenna then align the Base to the Connector.
2. Turn the Base clockwise until fully seated and tight on the Connector.
3. Raise and position the Antenna.
To avoid permenate damage, do not pull on the antenna when handling the Wireless Card

- Connector
- Base
- Antenna
Network Card Reset
It is recommended that the printer’s communication settings be reset to factory defaults to avoid any conflicts in configuration. To reset the printer’s communication settings:
Display Printers:
- Turn on the printer and press the MENU BUTTON.
- Using the DOWN BUTTON scroll to ‘COMMMUNICATIONS’ and press ENTER.
- Using the DOWN BUTTON scroll to ‘NIC ADAPTER’ and press ENTER.
- Using the DOWN BUTTON scroll to ‘SET FACTORY DEFAULTS’ and press ENTER. When prompted press the YES KEY. The printer with then reset and return to Ready Mode. Once completed, turn the printer OFF.
Non-Display Printers:
Turn on the printer, when the three LEDs turn on press and hold the FEED & CANCEL buttons. Continue to hold these buttons until the three LEDs turn off.
Network Card Setup
The Print Server makes IP requests at power-up, so before making a network connection to the printer consider how your IP addressing needs to be assigned. The IP addressing of the Internal Ethernet Print Server can be configured in one of two ways: Using a static IP Address or Using IP Discovery (DHCP, BootP, or RARP). At factory default settings IP DISCOVERY is ENABLED.
1. With Printer Off, connect the network cable then turn on Printer.
2. The printer will now search for a DHCP server. Once the printer has obtained an IP address the message “IP Address xxx.xxx.xxx.xxx” will be displayed briefly signifying that an IP address has been obtained. Allow up to 90 seconds for the printer to retrieve an IP address.
3. At this point it is recommended to print a Network Report. This Network Report is generated by the printer and lists important default information such as the IP and MAC Addresses as well as SSID for wireless equipped cards. To print the ‘Network Report’: Press the PAUSE, FEED, CANCEL buttons at the same time.
| NETWORK REPORT THU 03:14PM 27JAN2011 CURRENT PRINTER INFO INTERFACE: WIRED NETWORK STATE: OPERATING MACM: 00-0D-70-03-8C-42 IP ADDRESS: 10.50.12.32 SUBNET MASK: 255.255.254.0 GATEWAY: 10.50.12.1 DHCP: ENABLED SNMP: ENABLED PORT NUMBER: 9100 |
The information on this label will vary depending on your configuration and firmware version.
4. Verify the printer has obtained a valid IP address for your network. If a valid IP address was not obtained or you wish to use a different static address this can be set via the printer’s front panel. For non-display printers see section, DMX Config Utility – Configuration Using a Static IP Address.
Enter the printer’s menu and navigate to the Communications/NIC Adapter menu branch. Set the “IP Discovery” menu item to Disable, then set the “IP Address” menu item to desired value, continue the same procedure with “Subnet Mask” and “Gateway Address” menu items if necessary. Exit the printers menu, When prompted to save changes press the YES KEY.
Once the previous steps have been successfully completed you may now use the IP Address to:
> Install a printer driver, and start printing from your Windows applications. See section, Installing the Printer Driver.
-or-
> If your card is equipped with wireless capabilities, see section Network Card Setup – Wireless for setup.
-or-
> Browse to the printer’s internal web pages for advanced configuration. See section, Printer’s Internal Web Pages.
Network Card Setup – Wireless (Infrastructure Mode)

After a successful setup is made via a wired connection, the Wireless connection (if equipped) can now be configured in infrastructure mode using a static or DHCP issued IP address.
1. Open your web browser. Type in the IP Address of the printer. The Default IP is: 192.168.10.26.
2. A page similar to the right will appear:

3. Click on the GENERIC NETWORK CONFIGURATION menu item. Locate and set the following items:
> Select WIRELESS ETHERNET (WIFI 802.11) from the NETWORK INTERFACE drop down box.
> Select DMXrfNet3 from the WIFI OPTION TYPE drop down box.
Scroll down to the bottom of the page, enter the password (default is “sysadm”) and click apply.
4. Click on the DMXrfNet3 menu item on the left side of the screen. Locate and set the following items:
> Select INFRASTRUCTURE from the WIRELESS TYPE drop down box.
> Set the SSID field to match the SSID of your access point.
> Set any WLAN Security Settings if necessary.
For static IP setup:
> In the DHCP section, select the DISABLED radio button.
> In the STATIC IP ADDRESSES section, enter valid static addresses for PRINTER IP ADDRESS, PRINTER SUBNET MASK, and PRINTER GATEWAY.
Scroll down to the bottom of the page, enter the password (default is “sysadm”) and click apply.
5. Click on the Restart Network menu item, enter the password and click the Restart Network button.
Once the previous steps have been successfully completed you may now use the IP Address to:
> Install a printer driver, and start printing from your Windows applications. See section, Installing the Printer Driver.
-or-
> Browse to the printer’s internal web pages for advanced configuration. See section, Printer’s Internal Web Pages.
Network Card Setup – Wireless (Adhoc Mode)
To configure the wireless card in Adhoc mode, you must configure your host computer to match the default settings of the printer. Your wireless network type must be Adhoc. Refer to your operating system’s or your wireless network card documentation for information on how to configure your computer.
1. Power on the printer. For display printers, enter the printer’s menu and navigate to the Communications/NIC Adapter/Quick Setup menu branch. Scroll down to the “WLAN Adhoc” menu item and press the ENTER button. When prompted press the YES KEY. The printer will now reset set the printer to the following settings:
Wireless Mode: Enabled
IP: 192.168.10.26
SSID: MAC Address of the printer (unique value for each printer, listed on the Network Report Label).
Subnet Mask: 255.255.255.0
Gateway: 192.168.10.26
BSS: 192.168.10.1 (this is the IP of the radio card and is not to be used for data transfer)
For non-display printers these parameters must be set manually, see section Printer’s Internal Web Pages to access to these parameters.
2. Make sure your host computer’s network IP settings are in the same range, (but not identical) to the printers IP address. (e.g. 192.168.10.20). Also be sure that Subnet Mask is set to 255.255.255.0 and the Gateway is set to 0.0.0.0 or the host computer’s IP address, (in this case 192.168.10.20).
3. The default SSID is the MAC address of the printer. The printer’s MAC address can be found on the label affixed to the backplate of the wireless card or on the Network Report, it is listed as “MACR”.
From Windows , you may now “View Wireless Networks”. From the list of available wireless networks select the printer’s SSID (printers MAC Address) that you wish to connect to and then click on the Connect button.
If you do not see the MACR/SSID listed be sure you have the host computer configured for Adhoc wireless networks.

This process will vary depending on your wireless device installed in your host computer and your operating system version.
Once the previous steps have been successfully completed you may now use the IP Address to:
> Install a printer driver, and start printing from your Windows applications. See section, Installing the Printer Driver.
-or-
> Browse to the printer’s internal web pages for advanced configuration. See section, Printer’s Internal Web Pages.
Printer’s Internal Web Pages
1. Open your web browser. Type in the IP Address of the printer. The Default IP is: 192.168.10.26.
2. The following page will appear:

The printer’s internal web pages are divided into 15 pages that are accessible via the navigation bar on the left-hand side.
Most of the items on these pages mimic the printer’s internal menu. For more information on the function of these settings see the corresponding function in the Operator’s Manual.
The GENERIC NETWORK CONFIGURATION, WIRED ETHERNET CONFIGURATION, and DMXrfNet3 pages contain many items associated with the setup of the network card as well as wireless security settings. The following tables provide information on each of the items listed on these pages.
GENERIC NETWORK CONFIGURATION Page
| NETWORK INTERFACE | |
| NETWORK INTERFACE | Selects WIRED ETHERNET (802.3) or WIRELESS ETHERNET (WIFI 802.11) |
| WIFI OPTION TYPE | |
| WIFI OPTION TYPE | Selects which model of the communication card. This setting must match the model installed in the printer; DMXrfNet2 or DMXrfNet3. The model of the card is shown in the upper right hand corner of the cards mounting plate. |
| NET BIOS SERVICES | |
| ENABLED/DISABLED | Enables or disables the NET BIOS SERVICES |
| NETBIOS NAME | Is the name used to reference the printer instead of the IP address. A WINS or DNS server is required for this capability. |
| PRIMARY WINS SERVER | The IP address of the primary WINS Server. |
| SECONDARY WINS SERVER | The IP address of a secondary WINS Server. |
| TCP PRINT SERVICES | |
| TCP PRINT SERVICES | Selects the Port to use for all network communications; Default is 9100 |
| LPD PRINT SERVICES | |
| LPD PRINT SERVICES | Enables or disables the LPD SERVICES |
| SNMP SERVICES | |
| ENABLED/DISABLED | Enables or disables the SNMP SERVICES Allows management protocols, where: |
| SNMP SERVER ADDRESS | Is the address in standard octet format for SNMP services. |
| SNMP TRAP ADDRESS | Is the address in standard octet format where SNMP traps will be sent when SNMP service is installed on your receiver. When zeroed, no traps are sent. |
| TELNET SERVICES | |
| ENABLED/DISABLED | Enables or disables Telnet protocol to transfer data. |
| FTP SERVICES | |
| ENABLED/DISABLED | Enables or disables FTP protocol to transfer data. |
| HTTP (WWW) SERVICES | |
| ENABLED/DISABLED | Enables or Disables the HTTP SERVICES. |
| NETCENTER SERVICES | |
| ENABLED/DISABLED | Enables or Disables the NETCENTER SERVICES. |
| GRATUITOUS ARP | |
| GRATUITOUS ARP | Sets time interval for ARP transmission packets, where: (0-2048 minutes); Default is 0 (Disabled) |
WIRED ETHERNET CONFIGURATION Page
| DHCP | |
| ENABLED/DISABLED | Controls IP Address discovery, where: ENABLED: Broadcasts over the network to receive addresses from the responsible server at startup. Manual modifications to IP Address, Subnet Mask, or Gateway are not allowed; and, if no server is found, the specified static value will be used. DISABLED: Uses the stored static IP, Subnet Mask, and / or Gateway Address. |
| STATIC IP ADDRESSES | |
| PRINTER IP ADDRESS | These are the static address the printer will use when “DHCP” is set to disabled or a valid IP could not be retrieved from a DHCP server. |
| PRINTER SUBNET MASK | |
| PRINTER GATEWAY |
| ETHERNET PORT CONNECTION SETTINGS | |
| ETHERNET MODE | Allows the User to specify the line duplex and speed of the wired Ethernet connection. Auto-Negotiate (default) 10 BaseT Full Duplex |
| ADVERTISE CAPABILITIES | Selects the method in which the Duplex Capability setting is advertised, where: Automatic (advertises the selected Duplex Capability setting) All Capabilities (advertises all capabilities) |
| MINIMUM TRANSMISSION UNIT (MTU) | |
| Max Transmission Units | Sets the Maximum Transmission Unit packet size, where: Packet size, in bytes. (512-65515); Default is 1500 |
DMXrfNet3 Page
| DHCP | |
| ENABLED/DISABLED | Controls IP Address discovery, where: ENABLED: Broadcasts over the network to receive addresses from the responsible server at startup. Manual modifications to IP Address, Subnet Mask, or Gateway are not allowed; and, if no server is found, the specified static value will be used. DISABLED: Uses the stored static IP, Subnet Mask, and / or Gateway Address. |
| STATIC IP ADDRESSES | |
| PRINTER IP ADDRESS | These are the static address the printer will use when “DHCP” is set to disabled or a valid IP could not be retrieved from a DHCP server. |
| PRINTER SUBNET MASK | |
| PRINTER GATEWAY |
| WIRELESS TYPE | |
| WIRELESS TYPE | Specifies the type of network in which the Module will be used: INFRASTRUCTURE = connects to WLAN using an AP. ADHOC = used to connect two peer-to-peer devices. |
| ADHOC CHANNEL | |
| ADHOC CHANNEL | When Wireless Network Type is Ad Hoc, selects the channel used for communication. The two peer-to-peer devices must use the same channel. Range is 1 to 14 channels. Default channel is 1. |
| WIFI REGION CODE | |
| WIFI REGION CODE | Specifies the wireless channels allowed. The AP controls the channel used during Infrastructure mode. Default is US. |
| SSID | |
| SSID | Service Set Identifier that identifies the Module to connect to an AP. To make this connection, the Module and AP must have the same SSID. The SSID cannot contain spaces. Default setting is the MAC address of the wireless module. |
| WIFI SECURITY | ||
| WIFI SECURITY | Selects the WIFI SECURITY mode: | |
| Disable | WPA-PSK64 | |
| WEP64 | WPA-PSK128 | |
| WEP128 | WPA2-PSK | |
| WPA-PSK | TLS | |
| WPA-LEAP | PEAP | |
| WPA-LEAP64 | TTLS | |
| WPA-LEAP128 | ||
| WIFI AUTHENTICATION | |
| WIFI AUTHENTICATION | Selects the WIFI authentication method: (not available for all WIFI SECURITY modes) AUTO = automatically detects the authentication. (default) OPEN = communicates the key across the network. SHARED KEY = allows communication only with devices with identical settings |
| WEP SETTINGS | |
| WEP KEY USED | Selects the default WEP Key from 1 – 4 if Shared Key or Both is selected for WEP Authentication. Default is WEP Key 1. |
| WEP Key 1 through 4 | Specify up to four WEP key values: If WEP Encryption = 64, enter 10 hexadecimal digits for each key. If WEP Encryption = 128, enter 26 hexadecimal digits for each key. |
| WPA SETTINGS | |
| WPA SETTINGS | WPA-PSK 8 to 63 characters or 64 hex digits |
| LEAP SETTINGS | |
| LEAP USER ID | User ID for LEAP security mode; 1 to 32 characters |
| LEAP PASSWORD | Password for LEAP security mode; 1 to 32 characters |
| EAP SETTINGS | |
| EAP USER ID | User ID for EAP security mode; maximum of 64 ASCII characters |
| EAP PASSWORD | Password for EAP security mode; maximum of 64 ASCII characters |
| PEAP SETTINGS | |
| OUTER AUTHENTICATION | Selects PEAP v0 or PEAP v1 |
| INNER AUTHENTICATION | Selects MSCHAPv2, EAP MSCHAPv2, or EAP MD5 |
DMX Config Utility
DMXConfig (located on the Accessories CD-ROM) is a Windows based configuration utility that allows the user to make changes to the existing printer setup via a direct connection to the host computers serial and parallel connection. This is a vital tool for the use and configuration of wired and wireless printer setup (especially for printers without displays).
Be sure to use the DMXConfig utility located on the Accessories CD-Rom that is included with your printer. Older versions might not operate correctly with some printers. For the latest version please visit our web site at www.datamax-oneil.com.
Configuration Using a Static IP Address:
1. Connect the host to the printer with a serial or parallel cable.
2. Turn on the printer.
3. Launch the DMXConfig utility. Query the printer by using the Query Printer toolbar button (top-left). This will connect to the printer and get the current printer settings.

4. Next select the Network tab, click the Wired Ethernet Configuration button. Set DHCP Status to Disable, then set following with appropriate values for your network:
Printer IP Address
Printer Subnet Mask
Printer Gateway
5. Send the settings to the printer using the Configure Printer toolbar button.
6. The printer will reset and will connect to your network at the IP address you have specified.

Once the previous steps have been successfully completed you may now return to Step 4 in section, Network Card Setup.
Installing the Printer Driver
The following screen shots are taken from Windows 2000, other versions will be similar.
| 1 Start the Windows “Add Printer Wizard”. The following screen should appear, click ‘Next>’.
| 2 Make sure that ‘Local Printer’ is selected and then click ‘Next’.
|
| 3 Select on ‘Create a new port:’ and then select ‘Standard TCP/IP Port’ from the drop down menu. Click ‘Next’
| 4 Click ‘Next’.
|
| 5 In the ‘Printer Name or IP Address:’ field enter the IP address of your printer. The ‘Port Name’ field does not need to be changed. When finished click ‘Next’.
| 6 Make sure ‘Standard’ is selected and then click ‘Next’.
|
| 7 Confirm your settings and then click ‘Finish’.
| 8 Click on ‘Have Disk’.
|
| 9 Insert the Accessories CD-Rom and click ‘Browse’.
| 10 Browse to the “\DRIVERS\Seagull” folder on the CD-ROM, make sure the file “for 95, 98, me, 2000, and xp.inf” is selected and click ‘OK’.
|
| 11 Click ‘OK’.
| 12 Choose your printer from the list and then click ‘Next’.
|
| 13 Name your printer in the ‘Printer name:’ field. Next select whether or not to set this printer as your default printer. Then Click ‘Next’.
| 14 Select whether or not to share this printer on your network. Then Click ‘Next’
|
| 15 Select ‘No’ then Click ‘Next’.
| 16 Confirm your settings and then click ‘Finish’.
|
| 17 If prompted with the “Digital Signature Not Found” window, click ‘Yes’ to continue installation.
| 18 Your computer will now copy the necessary files from the CD-ROM.
|
Wireless and Wired Ethernet Specifications
The following list and table describes the key features and specifications of the wireless/wired card.
- 802.11b/g wireless LAN (Wi-Fi) standards-based technology
- Highly integrated module includes radio, baseband and MAC processor, and application processor
- Wired 10/100Mbs RJ-45 Ethernet port.
- Extended temperature and environmental specifications
- Built-in TCP/IP and UDP features provide flexible LAN connectivity options
- Built-in Web server enables remote configuration capabilities
- Built in WEP, WPA, WPA2, TLS, TTLS, and LEAP security protocols
| Specification | Description |
| Technology | IEEE 802.11b/g DSSS, Wi-Fi compliant |
| Frequency | 2.400 – 2.4835 GHz (US/Can/Japan/Europe) 2.471 – 2.497 GHz (Japan) |
| Modulation | DBPSK (1 Mbps), DQPSK (2 Mbps), and CCK (5.5 and 11 Mbps) |
| Channels | USA/Canada: 11 channels (1 – 11) Europe: 13 channels (1 – 13) Japan: 14 channels (1 – 14) France: 4 channels (10 – 13) |
| Data Rate | 11, 5.5, 2, 1 Mbps (raw wireless rate) |
| RF Power | +15 dBm (typical) Approx.32 mW |
| Sensitivity | -82 dBm for 11 Mbps -86 dBm for 5.5 Mbps -88 dBm for 2 Mbps -90 dBm for 1 Mbps |
| Security | WEP64, WEP128, WPA-PSK, WPA-LEAP, WPA-LEAP64, WPA-LEAP128, WPA-PSK64, WPA-PSK128, WPA2-PSK, TLS, PEAP, TTLS |
| Antenna | One U.FL coaxial connector, 50, supports receive diversity |
| Operating Temperature | Industrial: -40°C +85°C (see Note 1 below) (Meets IEEE 802.11 industrial temperature range) |
Note 1: Temperatures above +80°C reduce wireless performance. Module operates from -40°C cold start.
The Communications Card is designed to prevent damage to sensitive components due to electrostatic discharge during normal operation; however, when handling the card take proper static-control precautions to prevent damage. |
Optimize Your Wireless Network
For the best wireless coverage, consider where you place the access point, where you place the adapters, and how you adjust the antennas. Some recommendations are:
- Position the access point in line of sight to the wireless adapters, and in a central location within the area to be used for wireless communications. Try to position the access point in a place that is higher than networked computers and equipment.
- Position the access point away from other radio equipment operating at a frequency of 2.4 gigahertz (GHz), such as microwave ovens and cordless telephones.
- Keep your wireless equipment away from large metallic objects, such as computer cases, display monitors, and appliances, as well as other electromagnetic devices, such as televisions, radios, cordless telephones, and microwave ovens that might interfere with wireless transmissions.
Position your wireless equipment so that large masonry structures, such as fireplaces, are not obstructing the radio path. Building construction, such as metal framing, ultraviolet-resistant window film, metallic paint, concrete or masonry walls, or multiple floors and walls reduce radio signal strength.
For your safety and to avoid equipment damage, always turn ‘Off’ power and unplug the printer’s power cord before beginning this installation.

















The Communications Card is designed to prevent damage to sensitive components due to electrostatic discharge during normal operation; however, when handling the card take proper static-control precautions to prevent damage.


















