IKEA AA-2261432-2-100 GONATT Cot with Drawer Instruction Manual
ASSEMBLE INSTRUCTION
Package Contents




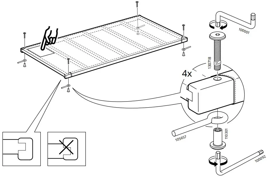
Drawer Installation










\











IKEA AA-2261432-2-100 GONATT Cot with Drawer Instruction Manual

















\


































Download manual
Here you can download full pdf version of manual, it may contain additional safety instructions, warranty information, FCC rules, etc.