
336009 Partytent Heater Sail
User Manual
Model: Party tent Heater Sail
Date: 09/08/2021
Product code: 336009
Version: v1.0
336030 (Swiss plug)
Thank you for choosing this EUROM device. You have purchased a quality device that you will enjoy for many years. Using this device with respect and care will reduce the risk of personal injury or material damage.
CAUTION It is important to read and understand this instruction manual before assembling, installing, and using the device.
Introduction
This manual describes the correct and safe use of this device. Keep this manual for future reference. The manual is an essential part of the device and must be given to the new owner upon resale or exchange. This manual has been compiled with the utmost care. Nevertheless, we reserve the right to improve and adjust this manual at any time. The images used may differ.
The following symbols and terms are used in this manual to alert the reader on safety issues and important information:
WARNING Indicates a hazardous situation which, if the safety instructions are not followed, can lead to injuries to the operator or bystanders, light and/or moderate damage to the product or to the environment.
CAUTION
Indicates a hazardous situation that, if the safety instructions are not followed, can lead to light and/or moderate damage to the product or to the environment.
Warranty
EURO M offers a 24-month warranty on this device from the date of purchase. The warranty does not cover wear and tear from normal use. The warranty expires if a defect is the result of unintentional or careless use of the device. The manufacturer, importer, and supplier are not liable for incorrect connections.
Identification

Specifications
| Product size: | Ø 430 x 280 mm |
| Weight: | 3.04 kg |
| Voltage: | 220-240 V ~ 50 Hz |
| Power: | 1500 W |
| Protection rating: | IP24 |
| Protective class: | Class I |
Description
The Party tent Heater Sail is an easy-to-use infrared heater for domestic outdoor use (Figure 3).
- Karabiner hook
- Hanging eye
- Power plug
- Infrared lamp
- Safety grill
- Brackets
- Hanging chain
Safety
Please read and understand these safety instructions. Incorrect use can cause injury and will void EUROM’s warranty. This device is not suitable for use by persons with a physical, sensory or mental disability, or lack of experience and knowledge (including children). Keep the device out of reach of children, unqualified persons and pets. Do not use this device in small spaces when they are occupied by persons or animals not capable of leaving the space on their own, unless constant supervision is provided.
WARNING
This device is not equipped with a function to regulate room temperature. Never leave the device unattended while it is in operation.
General safety instructions
WARNING
- Prevent splashing water on or in the device.
- Do not immerse any part of the device in water or other liquids.
- Never insert fingers or other objects into the openings of the device.
- Do not expose the device to strong vibrations or mechanical stress.
WARNING
The device becomes very hot during use. Do not touch the device during use or within five minutes after use.
CAUTION
Do not cover the device during usage or after use while the device is still hot. To reduce the risk of fire, keep textiles, curtains, tent canvasses and other flammable material at a minimum distance of 1 meter from the device.
Safety during operation
WARNING
Do not use the device:
- indoor or in a small space;
- hanging slant or pointing up;
- lying, leaning or standing;
- if any parts are dirty or wet;
- near or in a humid environment, like a sauna, bathroom, or laundry room;
- near a water source, like a bath, shower, or swimming pool;
- near or in a dusty and dirty environment, like a construction site;
- near flammable materials, liquids, or fumes, like a shed, stable or greenhouse;
- near other heat sources and open fire;
- immediately below a socket outlet;
- with accessories not recommended or supplied by the manufacturer;
- with an appliance that automatically switches the device on, such as a timer, dimmer or any other device.
If the device, the electric cable or plug shows damage or is malfunctioning, immediately take the appliance out of use and disconnect the power supply.
Transport and storage
- Clean the device before storing it.
- Transport the device in its original packaging.
- Store the device in its original packaging in a cool, dry and dust-free area.
Assembly and installation
The device is packed in one box. Remove all packaging material and check that the device is not damaged. Do not use the device if it is damaged, but always contact your supplier. Keep the packaging for safe storage and transport.
Hardware included:
- 2 brackets, screw with hanging eye, nut and 4 screws;
- Key bolt with the hanging eye;
- standard hanging chain (50 cm) with screw locking and ring;
- additional hanging chain (30 cm);
- 2 karabiner hooks;
- 3 tie wraps.
Assembly
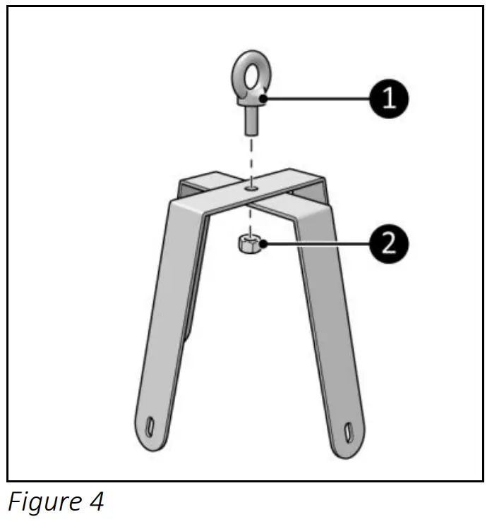
- Screw and tighten both brackets together with the hanging eye (Figure 4, pos. 1) and the nut (Figure 4, pos. 2).

- Screw and tighten the brackets (Figure 5, pos. 1) to the device with the four screws (Figure 5, pos. 3) and a Phillips screwdriver (Figure 5, pos. 2).

Mounting
WARNING The ceiling or frame used for mounting must be made from flame-retardant or nonflammable material. And should withstand a temperature of 150 °C.
1. Place the device within a minimum distance (Figure 6) of:
- 50 cm to a nonflammable ceiling or roof;
- 50 cm to the side walls;
- 180 cm from the floor.

2. Do not mount the device immediately below a socket outlet.
The device can be attached:
- on the ceiling;
- on a frame.
Hanging on the ceiling
CAUTION Make sure to use suitable fastening materials depending on the surface. The provided anchor bolts are suitable for a concrete ceiling.
- Drill a hole with a diameter of 8 mm.
- Place the key bolt with a hanging eye in the hole (Figure 7, pos. 1).
- Attach a carabiner hook (Figure 7, pos. 2) to the hanging chain (50 cm) and the key bolt with a hanging eye (Figure 7, pos. 1).
- Attach a carabiner hook (Figure 7, pos. 4) to the hanging chain (50 cm) (Figure 7, pos. 3) and the hanging eye of the device (Figure 7, pos. 5).
Hanging on a frame
- Place the additional hanging chain (30 cm) (Figure 8, pos. 2) through the ring of the hanging chain (50 cm) (Figure 8, pos. 3) and over the frame (Figure 8, pos. 4).
- Attach a carabiner hook (Figure 8, pos. 1) to both ends of the additional hanging chain (30 cm) to close the loop.
- Attach a carabiner hook (Figure 7, pos. 4) to the hanging chain (Figure 7, pos. 3) and the hanging eye of the device (Figure 7, pos. 5).
Installation
WARNING Do not put the power plug into the wall socket before the device is correctly mounted in the right place. Do not use an extension cable, this can cause overheating and fire. If using an extension cable is unavoidable, make sure it is undamaged and earthed. Use an extension cable with a minimum power of 1500 Watt. Always unwind the extension cable completely to prevent overheating.
CAUTION Make sure that the main voltage is the same as indicated on the identification label of the device. All electrical connections must stay dry under all circumstances.
- Make sure the device is firmly mounted.
- Place the power cable (Figure 9, pos.2) along the hanging chain using tie wraps (Figure 9, pos. 3).
- Place the power plug (Figure 9, pos. 1) into an earthed wall socket that is easily accessible. Use an earthed wall socket with a minimum power of 1500 Watt.
- Make sure the power cable does not come into contact with the device.
Operation
WARNING Before every use, make sure that:
- you operate the device with dry hands;
- the device is clean and dry;
- the device is not damaged;
- the device is securely mounted.
CAUTION When the device is turned on it can give off smoke and an odor. This is normal and will disappear after a few minutes.
- Place the power plug (Figure 9, pos. 1) into an earthed wall socket that is easily accessible. Use an earthed wall socket with a minimum power of 1500 Watt.
After operation
CAUTION Do not use the power cable to unplug or carry the device. Do not wind the power cable too tightly or in sharp corners. Do not wrap the power cable around the device.
- Disconnect the power plug from the power outlet (Figure 9, pos. 1).
- Let the device cool down before touching it.
- Wind the power cable.
Maintenance
WARNING
Do not perform any repairs or modifications to this device.
Maintenance and repairs must be carried out by a EUROM authorized professional. If the infrared lamp, electric cable and/or electric plug is damaged, it should be replaced by the manufacturer or its service employee or persons with similar qualifications to prevent risks.
Cleaning
WARNING The device becomes very hot. Make sure the device is unplugged and completely cooled down.
CAUTION
Do not use
- scouring pads;
- hard brushes;
- flammable, aggressive or chemical cleaning products.
Prevent water from entering the device. Do not immerse any part of the device in water or other liquids.
It is recommended to clean the device after each use and prior to storage.
- Carefully vacuum the openings to remove dust and dirt.
- Wipe the device with a damp, clean, soft, lint-free cloth or a soft brush.
- Let the device dry completely prior to use and storage.
Disposal![]()
At its end of life, discard the device according to the local laws and regulations, or deliver the device to your supplier.
Attachments
The CE declaration can be found at the end of this manual.
CE–declaration
Eurom
Kokosstraat 20
8281 JC Genemuiden
The Netherlands declares the following device in sole responsibility:
Product:………………….. Terrace heater
Brand name:………………………… EURO
Model: ………………………………… Party tent Heater Sail Grey
Item number:……………………….. 336009 , 336030 (Swiss Plug)
Complies with the following harmonization rules:
Low Voltage Directive: LVD 2014/35/EU
Electromagnetic compatibility Directive: EMC 2014/30/EU
Restriction of Hazardous Substances RoHS Directive: 2011/65/EU&(EU)2015/863
Applied harmonized standards:
EN 60335-2-30:2009+A11:2012
EN 60335-1:2012+A11:2014+A13:2017+A1:2019+A14:2019
EN 62233:2008
EN 55014-1:2017
EN 55014-2:2015
EN IEC 61000-3-2:2019
EN 61000-3-3:2013+A1:2019
Genemuiden, 09-06-2021
W.J. Bakker, alg. Dir.
Kokosstraat 20, 8281 JC Genemuiden, The Netherlands
T: (+31) 038 385 43 21
E: [email protected]
I : www.eurom.nl
Model: Partytent Heater Sail
Date: 09/08/2021
Product code: 336009
336030 (Swiss plug)
Version: v1.0























