KENWOOD HDP30 Hand Blender

Safety
General
- Read these instructions carefully and retain for future reference.
- Remove all packaging and any labels.
- If the plug or cord is damaged it must, for safety reasons, be replaced by Kenwood or an authorised Kenwood repairer in order to avoid a hazard.
- Never touch the blades while the machine’s plugged in.
- Keep fingers, hair, clothing and utensils away from moving parts.
- Unplug after use and before changing attachments.
- Never blend hot oil or fat.
- For safest use it is recommended to let hot liquids cool to room temperature before blending.
- Never use a damaged hand blender. Get it checked or repaired: see ‘service and customer care’.
- Never put the power handle in water or let the cord or plug get wet – you could get an electric shock.
- Never let the cord touch hot surfaces or hang down where a child could grab it.
- Never use an unauthorised attachment.
- Always disconnect the hand blender from the power supply if it is left unattended and before assembling, disassembling or cleaning.
- Appliances can be used by persons with reduced physical, sensory or mental capabilities or lack of experience and knowledge if they have been given supervision or instruction concerning use of the appliance in a safe way and if they understand the hazards involved.
- Misuse of your appliance can result in injury.
- This appliance shall not be used by children. Keep the appliance and its cord out of reach of children.
- Children should be supervised to ensure that they do not play with the appliance.
- Only use the appliance for its intended domestic use. Kenwood will not accept any liability if the appliance is subject to improper use, or failure to comply with these instructions.
- The rated power is based on the chopper attachment. Other attachments may draw less power.
Chopper attachment
- Don’t touch the sharp blades.
- Remove the chopper blade before emptying the bowl.
- Never remove the cover until the chopper blade has completely stopped.
- Always hold the chopper blade by the finger grip away from the cutting blades, both when handling and cleaning.
Important
- With heavy mixtures to ensure long life of your machine, don’t use your hand blender for longer than 50 seconds in any 4 minute period.
- Don’t use the whisk attachment for longer than 3 minutes in any 10 minute period.
Before plugging in
- Make sure your electricity supply is the same as the one shown on the hand blender.
- This appliance conforms to EC Regulation 1935/2004 on materials and articles intended to come into contact with food.
Before using for the first time
- Throw away the blade cover from the chopper blade as it i there to protect the blade during manufacture and transit only. Take care as the blades are very sharp.
- Wash all parts – see “care and cleaning”.
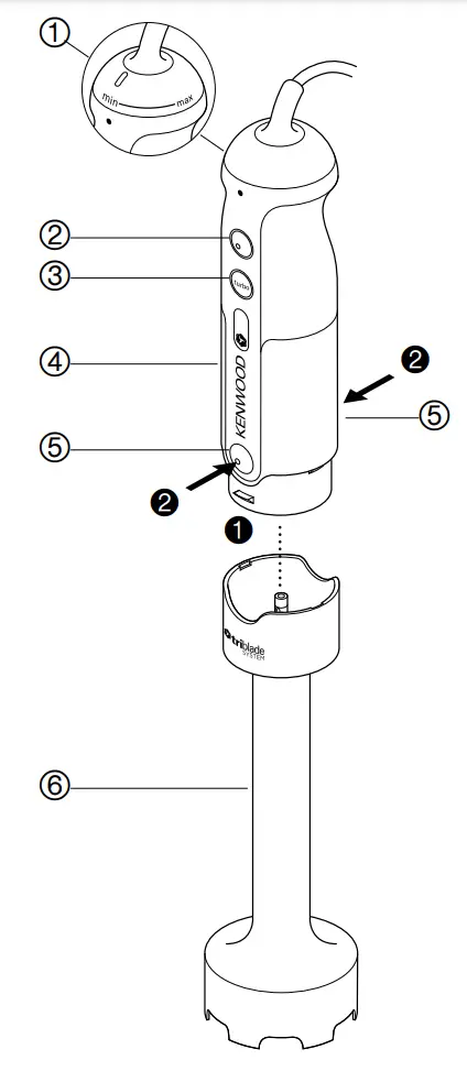
key
Hand blender

① variable speed control (TYPE HDP40)
② on button
③ turbo button
④ power handle
⑤ blender shaft release buttons
⑥ blender shaft with fixed tribade.
Beaker (if supplied)

⑦ beaker lid
⑧ beaker
⑨ rubber ring base
⑩
soup blender (if supplied) whisk (if supplied)

⑪ whisk collar
⑫ wire whisk
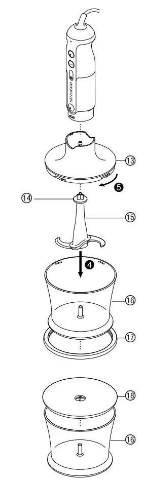
chopper (if supplied

⑬ chopper cover
⑭ finger grip
⑮ chopper blade
⑯ bow
⑰ rubber ring base
⑱ bowl lid
Ⓐ Plastic masher (if supplied)

⑲ masher collar
⑳ masher foot
㉑ masher paddle
Ⓑ Metal masherpro™ (if supplied)


⑲ masher collar
㉒ masher shaft
㉓ fine screen
㉔ coarse screen
㉕ masher paddle
To use the hand blender
- You can blend soups, sauces, milk shakes, mayonnaise and baby food etc.
For beaker blending (if beaker supplied)
- Fit the rubber ring base ⑨ on the bottom of the beaker. (This stops the beaker sliding on the worktop).
- Don’t fill the beaker more than 2/3rds full.
- After blending you can fit the lid to the top of the beaker.
Note
If no beaker is supplied in your pack, select a suitably sized container. We would recommend a tall, straight sided vessel with a diameter slightly larger than the foot of the hand blender to allow movement of the ingredients but tall enough to prevent splashing.
For saucepan blending
- For safest use it is recommended to take the pan off the heat and let hot liquids cool to room temperature before blending.
- Use the soup blender (if supplied) to quickly process soups etc., directly in the saucepan. Alternatively use the hand blender.
Do not use the soup blender to process uncooked vegetables.
- Fit the blender shaft to the power handle ① – push to lock.
- Plug in.
- Place the food into the beaker or a similar container, then holding the beaker steady:
TYPE HDP30 – press the on button.
TYPE HDP40 – select the required speed then press the on button.
(Select a low speed for slower blending and to minimize splashing and a higher speed or turbo for faster blending)
- To avoid splashing, place the blade in the food before switching on.
- Don’t let liquid get above the join between the power handle and blender shaft.
- Move the blade through the food and use a mashing or stirring action to incorporate the mixture.
- Your hand blender is not suitable for ice crushing.
- If your blender gets blocked, unplug before clearing. 4 After use release the on or turbo button. Unplug and press the release buttons② to remove the blender shaft from the power handle.
to use the whisk
- You can whip light ingredients such as egg whites; cream and instant desserts.
- Don’t whisk heavier mixtures such as margarine and sugar – you’ll damage the whisk
- Push the wire whisk into the whisk collar ③.
- Fit the power handle to the whisk collar. Push to lock.
- Place your food in a bow
• Don’t whisk more than 4 egg whites or 400ml (3 ⁄4pt) cream. - Plug in and press the on button. To whisk on a faster speed, select a higher speed or press the Turbo button. Move the whisk clockwise. TYPE HDP40 – To reduce splashing, select a low speed then press the on button.
• Don’t let liquid get above the whisk wires. - After use release the on or turbo button, unplug and dismantle.
to use the chopper (if supplied)
- You can chop meat, vegetables, herbs, bread, biscuits and nuts.
- Don’t chop hard foods such as coffee beans, ice cubes, spices or chocolate – you’ll damage the blade.
- Remove any bones and cut food into 1-2cm (1 ⁄2-1”) cubes.
- Fit the rubber ring base⑰ (8 on the bottom of the chopper bowl. (This stops the bowl sliding on the worktop.)
- Fit the chopper blade over the pin in the bowl ④.
- Add your food.
- Fit the chopper cover, turn and lock ⑤.
- Fit the power handle to the chopper cover – push to lock.
- Plug in. Hold the bowl steady. Then press the turbo button. Alternatively press the turbo button in short bursts to achieve a pulsing action.
- After use, unplug and dismantle.
Chopper processing guide
| Food | Maximum amount | Approx. time (in seconds |
| Meat | 250g | 10-15 |
| Herbs | 30g | 5-10 |
| Nuts | 200g | 10-15 |
| Bread | 1 slice | 5-10 |
| Hardboiled eggs | 3 | 3-5 |
| Onions | 200g | Pulse |
| Prune Marinade | TYPE HDP30 | TYPE HDP40 |
| Small soft prunes | 75g | 50g |
| Runny honey | 325g Refrigerated overnight | 325g |
| Water | 20g (at room temperature) | 60g |
| Processing | Add the ingredients to the chopper bowl in the order stated above. | Add the ingredients to the chopper bowl in the order stated above. Fit the lid and refrigerate overnight. |
| Speed | Turbo | Max Turbo |
| Processing Time (secs) | 5 | 3 |
Mashers
important
- Never use the masher in a saucepan over direct heat. Always remove the saucepan from the heat and allow to cool slightly.
- Do not tap the masher on the side of the cooking vessel during or after mashing. Use a spatula to scrape excess food away.
- For best results when mashing never fill a saucepan etc., more than half full with food
Ⓐ Plastic Masher (if supplied) to use the masher
- The masher can be used to mash cooked vegetables such as potatoes, swede and carrot.
- Don’t mash hard or uncooked foods – you may damage the unit.
- Cook the vegetables and drain.
- it the masher collar to the masher foot by turning in a clockwise direction ⑥ until it locks in position.
- Turn the masher upside down and fit the paddle over the central hub and turn anti clockwise to secure
⑦ (If the collar is not fitted then the paddle will not secure in place). - Fit the power handle to the masher assembly – push to lock.
- Plug in.
- Place the masher in the saucepan or bowl etc. TYPE HDP30 – press the on button.
TYPE HDP40 – select a low speed on the variable control and then press the on button
• Move the masher in an up and down movement throughout the mix until the desired result is achieved - After use release the on button and unplug.
- Press the blender shaft release buttons to release the masher assembly.
- Remove the paddle from the masher by turning clockwise.
- Unscrew the collar from the masher foot.
Ⓑ Metal Masherpro™ (if supplied) to use the masher
- The masher comes with two screens which can be used as follows:-
Coarse screen – to mash cooked vegetables such as potatoes, swede, yams and carrot.
Fine screen – to mash cooked or soft fruits and vegetables. - Don’t mash hard or uncooked foods you may damage the unit.
- Cook hard vegetables and fruit and drain first before mashing.
- Fit the masher collar to the mashershaft by turning in a clockwise direction until it locks in position ⑧.
- Fit either the coarse or fine screen to the masher shaft – turn clockwise to lock ⑨.
- Turn the masher upside down and fit the paddle over the central hub and turn anti-clockwise to secure
⑩ (If the collar is not fitted then the paddle will not secure in place). - Fit the power handle to the masher assembly – push to lock.
- Plug in.
- Place the masher in the saucepan or bowl etc.
TYPE HDP30 – press the on button.
TYPE HDP40 – select a low speed on the variable control and then press the on button.
• Move the masher in an up and down movement throughout the mix until the desired result is achieved. Increase the speed if required. - After use release the on button and unplug.
- Press the blender shaft release buttons to release the masher assembly.
- Remove the paddle from the masher by turning clockwise.
- Remove the screen by turning anticlockwise (2 and then lift off.
- Unscrew the collar from the masher shaft.
optional attachment (not supplied in pack)
Mini chopper – refer to “service and customer care” section to order.
care and cleaning
- Always switch off and unplug before cleaning.
- Don’t touch the sharp blades.
- Some foods, eg carrot, may discolor the plastic. Rubbing with a cloth dipped in vegetable oil may help to remove discoloration.
power handle, whisk collar, chopper cover, masher collar and shaft
- Wipe with a slightly damp cloth, then dry.
- Never immerse in water or use abrasives.
- Do not dish wash.
hand blender shaft/soup blender
- Do not dish wash. hand blender shaft/soup blender either
- Part fill the beaker or a similar container with warm soapy water. Plug into the power supply, then insert the hand blender shaft or soup blender and switch on.
- Unplug, then dry or
- Wash the blades under running water, then dry thoroughly.
- Never immerse in water or allow liquid inside the shaft. If water does get inside, drain and allow to dry before use.
- Do not dishwash. whisk, beaker, chopper bowl, chopper blade, masher paddle and screens, rubber ring bases and beaker/bowl lids
- Wash up, then dry. The following table shows which items can be washed in the dishwasher.
| ItemS | Uitable for dishwashing |
| Power handle | ✘ |
| Blender shaft | ✘ |
| Soup blender | ✘ |
| Beaker | ✓ |
| Beaker lid | ✘ |
| Beaker rubber ring base | ✓ |
| Chopper cover | ✘ |
| Chopper bowl | ✓ |
| Chopper blade | ✓ |
| Chopper bowl lid | ✘ |
| Chopper bowl rubber ring base | ✓ |
| Whisk collar | ✘ |
| Whisk | ✓ |
| Masher shaft | ✘ |
| Masher foot | ✘ |
| Masher paddle | ✓ |
| Masher collar | ✘ |
| Masher screens | ✓ |
hint on cleaning the masher foot/shaft and screens
- If food has been allowed to dry onto the masher attachment, remove the paddle. Soak the paddle and bottom of the masher shaft in warm water to soften and then wash thoroughly.
- Never immerse the masher shaft in water or allow liquid inside the shaft. If water does get inside, drain and allow to dry before use. important – don’t allow the masher collar to get wet.
service and customer care
- If you experience any problems with the operation of your appliance, before requesting assistance visit www.kenwoodworld.com.
- Please note that your product is covered by a warranty, which complies with all legal provisions concerning any existing warranty and consumer rights in the country where the product was purchased.
- If your Kenwood product malfunctions or you find any defects, please send it or bring it to an authorised KENWOOD Service Centre. To find up to date details of your nearest authorised KENWOOD Service centre visit www.kenwoodworld.com or thewebsite specific to your Country.
- Designed and engineered by Kenwood in the UK.
- Made in China.
IMPORTANT INFORMATION FOR CORRECT DISPOSAL OF THE PRODUCT IN ACCORDANCE WITH THE EUROPEAN DIRECTIVE ON WASTE ELECTRICAL AND ELECTRONIC EQUIPMENT (WEEE)
At the end of its working life, the product must not be disposed of as urban waste.
It must be taken to a special local authority differentiated waste collection centre or to a dealer providing this service.
Disposing of a household appliance separately avoids possible negative consequences for the environment and health deriving from inappropriate disposal and enables the constituent materials to be recovered to obtain significant savings in energy and resources. As a reminder of the need to dispose of household appliances separately, the product is marked with a crossed-out wheeled dustbin.




















