WORX WA0223 40v Nitro Driveshare 8 inch Universal Lawn Edger

WA0223





PRODUCT SAFETY
![]() | WARNING: Some dust created by power sanding, sawing, grinding, drilling and other construction activities contains chemicals known to the State of California to cause cancer, birth defects or other reproductive harm. Some examples of these chemicals are: |
- Lead from lead-based paints;
- Crystalline silica from bricks and cement and other masonry products;
- Arsenic and chromium from chemically-treated lumber.
Your risk from these exposures varies, depending on how often you do this type of work. To reduce your exposure to these chemicals: work in a well ventilated area, and work with approved safety equipment, such as those dust masks that are specially designed to filter out microscopic particles.
![]() | WARNING: This product can expose you to chemicals including lead and Di(2ethylhexyl)phthalate (DEHP) which are known to the State of California to cause cancer and birth defects or other reproductive harm. For more information go to www.P65Warnings.ca.gov. |
Important Safety Instructions
![]() | WARNING: Read all safety warnings and instructions. Failure to follow the warnings and instructions may result in electric shock, fire and/or serious injury. |
FOR ALL APPLIANCES
- Avoid Dangerous Environment – Don’t use appliances in damp or wet locations.
- Don’t Use In Rain.
- Keep Children Away – All visitors should be kept at a distance from work area.
- Dress Properly – Do not wear loose clothing or jewelry. They can be caught in moving parts.
Use of rubber gloves and substantial footwear is recommended when working outdoors. Wear protective hair covering to contain long hair. - Use Safety Glasses – Always use face or dust mask if operation is dusty.
- Use Right Appliance – Do not use appliance for any job except that for which it is intended.
- Don’t grasp the exposed cutting blades or cutting edges when picking up or holding the appliance.
- Don’t Force Appliance – It will do the job better and with less likelihood of a risk of injury at the rate for which it was designed.
- Don’t Overreach – Keep proper footing and balance at all times.
- Stay Alert – Watch what you are doing. Use common sense. Do not operate appliance when you are tired.
- Store Idle Appliances Indoors – When not in use, appliances should be stored indoors in dry, and high or locked-up place – out of reach of children.
- Maintain Appliance With Care – Keep cutting edge sharp and clean for best performance and to reduce the risk of injury. Follow instructions for lubricating and changing accessories. Keep handles dry, clean, and free from oil and grease.
- Check Damaged Parts – Before further use of the appliance, a guard or other part that is damaged should be carefully checked to determine that it will operate properly and perform its intended function.
Check for alignment of moving parts, binding of moving parts, breakage of parts, mounting, and any other condition that may affect its operation.
A guard or other part that is damaged should be properly repaired or replaced by an authorized service center unless indicated elsewhere in this manual.
FOR ALL BATTERY – OPERATED GARDENING APPLIANCES:
- Prevent unintentional starting. Ensure the switch is in the off-position before connecting to battery pack, picking up or carrying the appliance. Carrying the appliance with your finger on the switch or energizing appliance that have the switch on invites accidents.
- Disconnect the battery pack from the appliance before making any adjustments, changing accessories, or storing appliance. Such preventive safety measures reduce the risk of starting the appliance accidentally.
- Recharge only with the charger specified by the manufacturer .A charger that is suitable for one type of battery pack may create a risk of fire when used with another battery pack.
- Use appliances only with specifically designated battery packs. Use of any other battery packs may create a risk of injury and fire.
- When battery pack is not in use, keep it away from other metal objects, like paper clips, coins, keys, nails, screws or other small metal objects, that can make a connection from one terminal to another.
Shorting the battery terminals together may cause burns or a fire. - Under abusive conditions, liquid may be ejected from the battery; avoid contact. If contact accidentally occurs, flush with water. If liquid contacts eyes, additionally seek medical help.
Liquid ejected from the battery may cause irritation or burns. - Do not use a battery pack or appliance that is damaged or modified. Damaged or modified batteries may exhibit unpredictable behavior resulting in fire, explosion or risk of injury.
- Do not expose a battery pack or appliance to fire or excessive temperature. Exposure to fire or temperature above 130°C may cause explosion.
- Follow all charging instructions and do not charge the battery pack or appliance outside of the temperature range specified in the instructions.
Charging improperly or at temperatures outside of the specified range may damage the battery and increase the risk of fire. - Have servicing performed by a qualified repair person using only identical replacement parts.
This will ensure that the safety of the product is maintained. - Do not modify or attempt to repair the appliance or the battery pack (as applicable) except as indicated in the instructions for use and care.
SAFETY WARNINGS FOR BATTERY PACK
- a) Do not dismantle, open or shred battery pack.
- b) Do not expose battery pack to heat or fire. Avoid storage in direct sunlight.
- c) Do not short-circuit a battery pack. Do not store battery packs haphazardly in a box or drawer where they may short-circuit each other or be short-circuited by other metal objects. When battery pack is not in use, keep it away from other metal objects, like paper clips, coins, keys, nails, screws or other small metal objects, that can make a connection from one terminal to another. Shorting the battery terminals together may cause burns or fire.
- d) Do not remove battery pack from its original packaging until required for use.
- e) Do not subject battery pack to mechanical shock.
- f) In the event of battery leaking, do not allow the liquid to come in contact with the skin or eyes. If contact has been made, wash the affected area with copious amounts of water and seek medical advice.
- g) Observe the plus (+) and minus (–) marks on the battery back and equipment and ensure correct use.
- h) Do not use any battery pack which is not designed for use with the equipment.
- i) Keep battery pack out of the reach of children.
- j) Seek medical advice immediately if a cell or battery has been swallowed.
- k) Always purchase the battery pack recommended by the device manufacturer for the equipment.
- l) Keep battery pack clean and dry.
- m) Wipe the battery pack terminals with a clean dry cloth if they become dirty.
- n) Battery pack needs to be charged before use. Always use the correct charger and refer to the manufacturer’s instructions or equipment manual for proper charging instructions.
- o) Do not leave battery pack on prolonged charge when not in use.
- p) After extended periods of storage, it may be necessary to charge and discharge the battery pack several times to obtain maximum performance.
- q) Battery pack gives its best performance when it is operated at normal room temperature (20 °C ± 5 °C).
- r) When disposing of battery packs, keep battery packs of different electrochemical systems separate from each other.
- s) Recharge only with the charger specified by Worx. Do not use any charger other than that specifically provided for use with the equipment. A charger that is suitable for one type of battery pack may create a risk of fire when used with another battery pack.
- t) Retain the original product literature for future reference.
- u) Use only the battery pack in the application for which it was intended.
- v) Remove the battery pack from the equipment when not in use.
- w) Dispose of properly.
SYMBOLS
![]() | To reduce the risk of injury, user must read instruction manual |
![]() | Wear ear protection |
![]() | Wear protective gloves |
![]() | Li-Ion battery, battery must be recycled |
![]() | Do not burn |
![]() | Batteries may enter water cycle if disposed improperly, which can be hazardous for ecosystem. Do not dispose of waste batteries as unsorted municipal waste. |
![]() | Remove battery from the socket before carrying out any adjustment, servicing or maintenance. |
![]() | ![]() POSITEC Inc. has established a partnership with the RBRC Corporation to recycle any Positec batteries with the RBRC-call2recycle seal. For environmental protection, please do not discard batteries in the trash. After the batteries’ life cycle is ended, then please call 1-800-822-8837 for a free service that will properly dispose of the battery. |
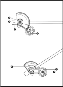
COMPONENT LIST
- DEBRIS FLAP
- BLADE
- BLADE HOUSING
- BLADE NUT
- BLADE GUARD
- GUIDE WHEEL
- ADJUSTING KNOB
Not all the accessories illustrated or described are included in standard delivery.
TECHNICAL DATA
| WA0223 | |
| Cutting depth | up to 2.5’’(64mm) |
| Cutting diameter | 8”(20cm) |
| Machine weight | 4.21lbs (1.91kg) |
ACCESSORIES
WA0223 | |
| Wrench | 1 |
| Hex key | 1 |
Only use the appropriate accessories intended for this tool. Accessory information can be found on the product packaging, at a Worx dealer or on our website at www.worx.com.
OPERATING INSTRUCTIONS
![]() | NOTE: Before using the tool, read the instruction book carefully. |
Intended Use
This attachment is intended for edging around walkways, driveways, flower beds, etc.
ASSEMBLY & OPERATION
| Action | Figure |
ASSEMBLY | |
| Connecting Remove the existing attachment and connect the edger attachment. Slip the attachment into the shaft of the main unit and secure in place with the locking knob. | See Fig. A |
OPERATION | |
| Starting Press the lock-off button first, then press the switch trigger to start the machine. | See Fig. B |
| Adjusting the depth Loosening the adjusting knob and move the wheel arm up to increase the depth or down to decrease the depth according to your work needs. After adjustment is complete, tighten the adjusting knob securely. | See Fig. C1, C2 |
OPERATION TIPS
- The edger will edge among sidewalks, driveways, flower-beds, curbs, and similar areas.
- Cut at a steady pace. If the blade begins to bog down, you are edging too fast; slow your pace.
Do not force the blade into ground. - Light contact of the blade against the sidewalk edge, curb, and so on, is acceptable and will not do damage to the edger.
- Best performance is obtained when grass is dry. Avoid edging in wet soil or wet grass areas or the blade guard might clog and result in an uneven edge. If the blade guard is clogged, stop the machine, disconnect the power supply, or remove the battery pack, then remove debris from the blade guard.
MAINTENANCE
Remove the battery from edger attachment before carrying out any adjustment, servicing or maintenance.
There are no user serviceable parts in your power tool. Never use water or chemical cleaners to clean your power tool. Wipe clean with a dry cloth. Always store your power tool in a dry place. Keep the motor ventilation slots clean. Keep all working controls free of dust.
FOR BATTERY TOOLS
The ambient temperature range for the use and storage of tool and battery is 0℃-45℃ (32°F-113°F).
The recommended ambient temperature range for the charging system during charging is 0℃-40℃ (32°F-104°F).

Copyright © 2020, Positec. All Rights Reserved.




























